Главная
Новости рынка
Рубрикатор



Архив новостей -->



 



   

С. Аленин, В. Иванов, В. Полевиков, Е. Трудновская

Реализация специализированных аналогово-цифровых устройств на основе БиКМОП БМК типа Н5515ХТ1

Стремительный рост степени интеграции интегральных схем (ИС) и появление таких перспективных технологических процессов изготовления ИС, как БиКМОП позволяют разработчикам радиоэлектронной аппаратуры (РЭА) разрабатывать сложные, зачастую уникальные аналого-цифровые системы, интегрируя их на одном кристалле, что, в свою очередь, требует новых подходов при их разработке [1]. Одним из возможных путей ускорения разработки и удешевления производства таких однокристальных аналого-цифровых систем является использование аналого-цифровых базовых матричных кристаллов (АЦ БМК).

На ОАО “Ангстрем” разработан и внедрён в эксплуатацию АЦ БМК Н5515ХТ1, изготовляемый по БиКМОП-технологии и предназначенный для реализации аналого-цифровых БИС средней точности и быстродействия с напряжением питания аналоговых схем до 30 В и цифровых схем — до 9 В.

БМК состоит из двух частей: аналоговой и цифровой и строится на основе шести типов ячеек: базовых аналоговых ячеек типа А и Б, аналоговых периферийных ячеек типа А и Б, цифровой базовой ячейки и цифровой периферийной ячейки. Компонентный состав ячеек приведён в табл. 1. Аналоговая часть БМК состоит из двух рядов аналоговых ячеек типа А и Б, расположенных вблизи контактных площадок, периферийных аналоговых ячеек типа А и Б, а также активных и пассивных элементов. Цифровая часть БМК содержит матрицу цифровых базовых ячеек и периферийные ячейки, предназначенные для реализации цифровых элементов ввода/вывода.

Таблица 1. Компонентный состав БМК

Тип элемента Аналоговая часть Цифровая часть
базовая ячейка типа А базовая ячейка типа Б периферийная ячейка типа А периферийная ячейка типа Б базовая ячейка периферийная ячейка
npn 12 8 - - 1 2
мощный npn - - 4 - - -
pnp-транзистор - - - - 1 -
pnp-транзистор с изолированным коллектором 4 4 - - - -
латеральный pnp-транзистор - 2 - - - -
мощный pnp-транзистор с изолированным коллектором - - - 4 - -
n-МОП - - - - 4 -
мощный n-МОП - - - - - 4
p-МОП - - - - 4 -
мощный p-МОП - 2 - - - 4
резистор 115 115 1 1 - 18
конденсатор 1 1 - - - -

Конструкция и компонентный состав БМК позволяет реализовать до 7 операционных усилителей типа 140УД7 с резистивной обвязкой, 8-10-разрядные АЦП-ЦАП с частотой преобразования до 1 МГц. Основные характеристики АЦ БМК Н5515ХТ1 приведены в табл. 2.

Таблица 2. Основные характеристики БМК Н55ХТ1

Число контактных площадок
в том числе:
    аналоговых
    цифровых
48
 
24
24
Базовый технологический процесс БиКМОП
Типы корпусов Н16.48-1В
Диапазон напряжений питания
аналоговых схем
цифровых схем
 
от ±2 до ±15 В
от +2 до +9 В
Количество цифровых базовых ячеек 15
Количество аналоговых базовых ячеек,
в том числе
    тип А
    тип Б
18
 
10
8
Количество периферийных цифровых ячеек 18
Количество периферийных аналоговых ячеек,
в том числе
    тип А
    тип Б
4
 
2
2
Количество дополнительных мощных транзисторов 21
Пробивное напряжение Uкэ
аналогового npn-транзистора
    pnp-транзистора
цифрового npn-транзистора
    pnp-транзистора
 
35 В
40 В
25 В
30 В
Коэффициент передачи тока базы цифрового npn-транзистора при Uкэ = 5 В
IБ = 1 мкА
IБ = 100 мкА
 
70
33
цифрового pnp-транзистора
IБ = 1 мкА
IБ = 50мкА
 
50
36
аналогового npn-транзистора при Uкэ = 10 В
IБ = 1мкА
IБ = 100 мкА
 
60
35
аналогового pnp-транзистора
IБ = 1мкА
IБ = 100 мкА
 
50
35
мощного npn-транзистора
IБ = 10мкА
IБ = 1 мА
 
70
35
мощного pnp-транзистора
IБ = 10 мкА
IБ = 1 мА
 
50
30
Граничная частота Ft:
    npn-транзистора
    pnp-транзистора
 
1,5 - 2 ГГц
0,5 - 1 ГГц
Суммарный номинал конденсаторов 235 пФ
Максимальное количество реализуемых логических элементов типа 2И-НЕ, 2ИЛИ-НЕ 230
Тактовая частота D-триггера не более 10 МГц

Аналого-цифровой БМК типа H5515XT1 может быть использован как основа для разработки смешанных устройств, применяемых в системах сбора и преобразования информации, управления, контроля и для проведения измерений. В качестве примера можно привести следующие типы БИС, разрабатываемые на основе АЦ БМК Н5515ХТ1 и используемые в качестве элементной базы РЭА различного назначения.

БИС управления фазовращателем

Для систем управления антеннами разработана двухканальная БИС управления pin-диодным фазовращателем со встроенной схемой контроля типа Н5515ХТ1-001, предназначенная для управления pin-диодным фазо-вращателем цифровым параллельным кодом. Встроенная система контроля этой БИС позволяет контролировать работу фазовращателя. Структурная схема БИС Н5515ХТ1-001 приведена на рис. 1.

Структурная схема БИС типа Н5515ХТ1-001

Рис. 1. Структурная схема БИС типа Н5515ХТ1-001

Разберём работу этой БИС на примере функционирования одного из каналов. На входы D1_0 ё D1_3 буферного устройства Б1 поступают КМОП-логические сигналы управления источниками тока 1_0 ё 1_3. Высоким уровнем на входе INH1 обеспечивается блокировка канала. Источники тока 1_0 ё 1_3 управляются непосредственно с выхода буферного устройства Б1. Каждый из этих источников формирует ток отпирания двух параллельно включённых pin-диодов (выводы Q1_0 и Q1_1) и трёх параллельно включённых pin-диодов (выводы Q1_0 и Q1_1). Таким образом, токи через выводы Q1_0 ё Q1_3, Q2_0 ё Q2_3 обеспечивают включение заданных дискретов фазовращателя с целью формирования требуемой диаграммы направленности фазированной антенной решетки (ФАР). При отсутствии токов на этих выводах формируется обратное запирающее напряжение — 25 В. Каждый из каналов БИС Н5515ХТ1-001 имеет в своём составе четыре блока компараторов (БК1_0 ё БК1_3), определяющих режимы “холостого хода” и “короткого замыкания” в цепях нагрузок и формирующих сигналы неисправности по каждому из источников тока. Схемы выходного контроля ЛСХ ВК1 вырабатывают, на основе свёртки по модулю два, обобщённые сигналы результатов контроля каждого из источников тока (WT1).

Характеристики БИС Н5515ХТ1-001:
  • Входные сигналы управления
КМОП логичеcкие уровни
  • Выходные сигналы контроля
КМОП логические уровни
  • Ток, формируемый источниками Q1_0, Q1_1, Q2_0, Q2_1 (2 pin-диода в нагрузке)
не менее 36 мА
  • Ток, формируемый источниками Q1_2, Q1_3, Q2_2, Q2_3 (3 pin-диода в нагрузке)
не менее 54 мА
  • Обратное запирающее напряжение на выходах Q1_0, ё Q1_3 и Q2_0, ё Q2_3
не менее 25 В

БИС коммутатора и программируемого усилителя сигналов ФПУ

Для работы в области приёма и обработки ИК сигналов, поступающих с линейки фотоприёмного устройства (ФПУ), разработан комплект аналого-цифровых БИС, состоящий из микросхемы 16-канального прецизионного коммутатора аналогового сигнала (БИС-К) и микросхемы усилителя с перестраиваемым коэффициентом усиления и логарифмической передаточной характеристикой (БИС-У). Структурная схема комплекта изображена на рис. 2. БИС-К является прецизионным усилителем аналогового сигнала, поступающего на входы Х0 ё Х15, её коэффициент передачи перестраивается 8-разрядным кодом К0–К7, хранимым в регистре RG, который затем преобразуется цифро-аналоговым преобразователем. Коэффициент передачи усилителя перестраивается 256 ступенями от 0,5 до 1,5. Зависимость коэффициента передачи от кода — линейная. Аналоговый коммутатор К1 осуществляет опрос 16 каналов с возможностью привязки входных сигналов (в частности, с выходов ФПУ) к нулевому уровню, выравнивает разброс чувствительности и позволяет вводить в тракт обработки сигналов тестовый сигнал Х16. Для уменьшения погрешностей, вносимых схемой, в БИС-К применяется схема коррекции нулевого уровня.

Структурная схема комплекта БИС обработки сигналов с ФПУ

Рис. 2. Структурная схема комплекта БИС обработки сигналов с ФПУ

Напряжение коррекции хранится на внешней корректирующей ёмкости. БИС-К функционирует в двух режимах: в активном рабочем режиме обработки входных сигналов (V1 = “0” - “ВЫКЛ. ТЕСТ”) и пассивном режиме привязки — автокоррекции (V1 = “1”).

В режиме обработки входных сигналов входные коммутаторы К1 и К2 выполняют опрос входных каналов Х0–Х15. Выбор канала осуществляется цифровым кодом А0–А3. При сигнале “ВЫКЛ. ТЕСТ” выбранный канал подсоединяется ко входу буферного усилителя А1. При V1 = “1” на его вход подаётся тестовый сигнал Х16, который при подключении второй аналогичной БИС позволяет организовать коммутатор из 32 в 1 (V1 = “1”).

В пассивном режиме коррекция смещения нуля усилителей осуществляется путём заряда внешнего конденсатора до напряжения смещения нулевого уровня выходного сигнала. Номинал внешней ёмкости определяется периодом следования импульсов привязки — автокоррекции.

Характеристики БИС-К:
  • Диапазон входных и выходных сигналов
0–3,2 В
  • Входное сопротивление
не менее 100 МОм
  • Коэффициент передачи по напряжению
0,5–1,5
  • Количество градаций коэффициента передачи
256
  • Время нарастания выходного сигнала от момента установления кода адреса
не более 250 нс
  • Частота опроса каналов
не более 2,5 МГц
  • Напряжение смещения, приведённое ко входу (в режиме автокоррекции)
не более 1 мВ
  • Напряжение питания
-1,2 В ± 5% — 6 В ± 5%
  • Ток потребления
не более 20 мА

Как видно из рис. 2, в составе БИС-У имеется суммирующий усилитель, компенсирующий фоновую составляющую и скол плоской части импульса по ВX1 путём введения в сигнал постоянного смещения по ВX2 и ВX3. Усилитель с переменным коэффициентом усиления имеет 16 градаций коэффициента усиления, задаваемых внешним кодом К0–К3 с шагом изменения 1,32 (2,5 дБ). Усилитель-логарифматор включается в рабочем режиме сигналом калибровки С = “1” и имеет симметричную логарифмическую характеристику, аппроксимированную пятью отрезками прямой, вид которой показан на рис. 3.

Вид передаточной характеристики БИС-У в рабочем режиме

Рис. 3. Вид передаточной характеристики БИС-У в рабочем режиме

Параметры логарифматора, такие как коэффициент усиления и положение оси симметрии характеристики, подстраиваются внешним 3-разрядным кодом в диапазоне нескольких процентов. Вывод F позволяет включать в цепь обратной связи усилителя фильтр (F), корректирующий АЧХ усилителя. В режиме автокоррекции комплекта автоматически корректируется смещение нуля. Выходной буферный усилитель делает комплект БИС совместимым с большинством современных, быстродействующих АЦП, для чего на выходе усилителя формируется выходной ток 10 мА при СН = 50 пФ.

Характеристики БИС-У:
  • Коэффициент усиления в линейном режиме по входу ВX1
1–64
  • Время установления выходного сигнала
не более 0,5–1,5
  • Диапазон изменения входного сигнала
0–3,5 В
  • Диапазон изменения выходного сигнала
0–4,0 В
  • Коэффициент передачи логарифматора на середине характеристики
4,5
  • Коэффициент передачи логарифматора на краях характеристики
0,37
  • Погрешность схемы автокоррекции смещения нуля
не более 0,25 мВ
  • Напряжение питания
-1,2 В ± 5% — 6 В ± 5%
  • Ток потребления
не более 7 мА

4-канальный 8-разрядный ЦАП

В настоящее время ведётся разработка 4-канальной БИС 8-разрядного ЦАП, являющегося аналогом широкоизвестной микросхемы типа AD7226, выпускаемой фирмой Analog Devices (США). Структурная схема данной БИС приведена на рис. 4.

Структурная схема БИС 4-канального 8-разрядного ЦАП

Рис. 4. Структурная схема БИС 4-канального 8-разрядного ЦАП

В состав данной БИС входит четыре 8-разрядных ЦАП с выходом по напряжению и четыре буферных выходных усилителя, формирующих четыре канала цифро-аналогового преобразования. Входные логические сигналы ТТЛ/КМОП-типа поступают на входы D0–D7 микросхемы (рис. 5), выбор канала преобразования производится кодом адреса A0–A1, что делает её совместимой практически со всеми существующими микропроцессорными шинами. Функционирование данной микросхемы возможно в двух режимах, а именно: в режиме работы при двуполярном питании аналоговой части -5 – +15 В возможно применение схемы с внешним источником опорного напряжения 2–10 В, при применении однополярного источника питания 15 В характеристики схемы гарантируются при опорном напряжении 10 В.

Поясним работу микросхемы на примере структурной схемы (рис. 4) и на примере диаграммы входных сигналов (рис. 5).

Диаграмма входных сигналов БИС ЦАП

Рис. 5. Диаграмма входных сигналов БИС ЦАП:
t1 - задержка установления сигнала разрешения записи данных в регистр с момента установления кода выбора канала;
t2 - время удержания кода выбора канала с момента снятия сигнала разрешения записи данных в регистр;
t3 - время записи данных в регистр;
t4 - время удержания данных с момента снятия сигнала разрешения записи данных в регистр;
t5 - длительность импульса записи данных в регистр

8-разрядное входное слово данных, одновременно с кодом выбора канала, поступает на входные регистры ЦАП. Сигналом разрешения записи nWR с дешифратора выдаётся сигнал, по которому производится запись данных в регистр RG одного из четырёх каналов преобразования. 8-разрядный код с выходов каждого регистра поступает на входы соответствующих ЦАП, где и происходит преобразование сигнала, и через буферный усилитель на выход микросхемы.

Характеристики БИС ЦАП:
  • Разрешение
8 бит
  • Погрешность преобразования
не более ±1 МЗР
  • Дифференциальная нелинейность
не более ±1 МЗР
  • Диапазон выходного напряжения
не менее 10 В
  • Минимальное сопротивление нагрузки
не менее 2 кОм
  • Ёмкость нагрузки
не более 100 пФ
  • Нулевые выходные напряжения на выходе буферного усилителя ЦАП
не более 15 мВ
  • Скорость нарастания выходного напряжения
не менее 2 В/мкс
  • Время установления выходного напряжения
не более 7 мкс

БИС контроля и управления резервированными электромеханическими агрегатами

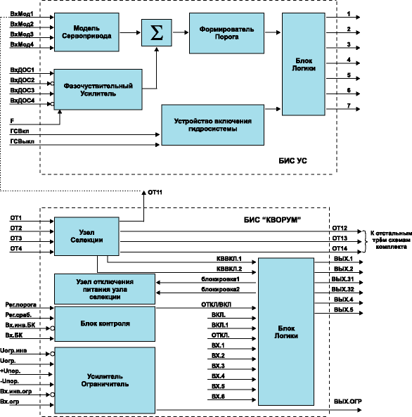
В стадии разработки находится комплект микросхем, состоящий из БИС “Селекции и контроля” (БИС “Кворум”) и БИС “Управления сервоприводом” (БИС УС). Данный комплект функционирует в составе 4-х однотипных микросхем согласно структурной схеме, приведённой на рис. 6.

Структурная схема комплекта БИС

Рис. 6. Структурная схема комплекта БИС "Кворум" и БИС УС

Комплект БИС функционирует согласно нижеприведённому алгоритму: каждая из четырёх БИС “Кворум” обеспечивает селекцию (кворумирование) четырёх резервированных аналоговых сигналов, поступающих с электроприводов исполнительных устройств, которые поступают на узел селекции через усилитель-ограничитель, ограничивающий входные напряжения БИС. Селекция входных сигналов осуществляется по следующему алгоритму: выбор одного сигнала из четырёх по критерию “меньший по модулю из двух средних”, причём, если один из них положительный, а другой отрицательных, то на выходе кворума должен быть ноль; выбор одного из трёх сигналов по критерию “средний”; выбор одного сигнала из двух по критерию “меньший по модулю”, причём если один из них положительный, а другой отрицательных, то на выходе кворума должен быть ноль. В составе БИС реализован блок контроля, осуществляющий отключение питания узла селекции при пропадании питания на БИС или по результатам селекции. По результатам селекции и контроля блок логики вырабатывает логические сигналы управления исполнительными агрегатами.

Характеристики БИС “Кворум”:
  • Напряжение питания
    аналоговой части
    цифровой части
±15 В;
5 В
  • Входные напряжения узла селекции
не более ±10 В
  • Пороговые напряжения усилителя-ограничителя
не более ±10 В
  • Логические уровни на выходе блока логики
КМОП
  • Нулевые выходные напряжения
    на выходе узла селекции
    на выходе усилителя-ограничителя
не более ±80 мВ;
не более ±10 мВ
  • Максимальные выходные напряжения
    на выходе узла селекции
    на выходе усилителя-ограничителя
не менее ±10 В;
не менее ±10 В
  • Задержка срабатывания контрольного устройства
0,01 ё 1 с
  • Температурный диапазон
-60 ё +85°С

Четыре кворумированных сигнала поступают на вход модели сервопривода (БИС УС), где на их основе моделируется его работа. Двухфазные сигналы с датчиков обратных связей (ДОС) сервопривода поступают на фазочуствительный усилитель (ФЧУ), где они выпрямляются и усиливаются. Сравнение идеального и реального сигналов происходит на сумматоре (S), и при отклонении реального сигнала от идеального, формирователь порога и блок логики вырабатывают логический сигнал, корректирующий работу сервопривода.

Характеристики БИС УС:
  • Напряжение питания
    аналоговой части
    цифровой части
±15 В;
5 В
  • Входные напряжения модели сервопривода
не более ±10 В
  • Входные напряжения ФЧУ
не более ±5 В
  • Частота фазовой коррекции
не более 2,4 кГц
  • Логические уровни на выходе блока логики
КМОП
  • Нулевые выходные напряжения на выходе модели сервопривода
    и на выходе ФЧУ
    на выходе формирователя порога
не более ±60 мВ;
не более ±240 мВ
  • Максимальные выходные напряжения БИС
не менее ±10 В
  • Постоянная времени модели сервопривода
0,37 ё 0,7 с
  • Температурный диапазон
-60 ё +85°С

Наряду с вышеперечисленными микросхемами, разработан маршрут проектирования АЦ БИС, включающий в себя расчёт аналоговых узлов и блоков БИС, логиче-ское моделирование цифровых узлов, смешанное моделирование АЦ БИС, разработка топологии и верификация проекта в целом.

Для АЦ БМК H5515XT1 разработана и испытана библиотека функциональных элементов (ФЭ), которая состоит из двух разделов: аналогового и цифрового. В состав цифровой библиотеки входят элементы комбинационной и последовательностной логики, буферные элементы. В состав аналоговой библиотеки входят стабилизированный источник опорного напряжения, операционный усилитель типа 140УД7, аналоговые ключи, генератор пилообразного напряжения.

Разработка АЦ устройств на основе АЦ БМК возможна тремя различними способами, а именно: Заказчик предоставляет Исполнителю схему структурную на уровне блоков, затем Исполнитель реализует требуемое уст-ройство в базисе АЦ БМК; Заказчик предоставляет Исполнителю схему электрическую принципиальную на уровне ФЭ элементов АЦ БМК; Заказчик под руководством Исполнителя разрабатывает схему электрическую, проводит моделирование и передаёт схему на входной контроль Исполнителю.

Литература:

  1. Джим Липман. Сложные устройства на одном кристалле становятся реальностью // Chip News. — 1999. — № 2. — С. 15–19.

Тел.: (095) 532 8216
E-mail: diamond@angstrem.ru






Реклама на сайте
тел.: +7 (495) 514 4110. e-mail:admin@eust.ru
1998-2014 ООО Рынок микроэлектроники