А. Артамонов, Н. Еремин, А. Литвиненко, А. Чумаков

Устройство регистрации низкоинтенсивных полей ионизирующего излучения

При радиационном контроле на энергетических установках, санитарном контроле радиоактивности материалов и продуктов, при проведении физических экспериментов и в ряде других случаев актуальной является задача по контролю характеристик низкоинтенсивных полей ионизирующего излучения с необходимостью определения типа ядерных частиц и их энергии. Существующие приборы, как правило, регистрируют либо активность материалов, либо мощность экспозиционной дозы, а разделение типа ядерных частиц происходит косвенным образом за счет применения защитных экранов, в которых происходит полное торможение определенного типа ядерных частиц. Подобные принципы затрудняют применение современных методов обработки информации, использование их в автономных режимах эксплуатации.
    На наш взгляд, реализация относительно простых и эффективных устройств для регистрации ядерных частиц возможна на физическом эффекте, связанном с зависимостью формы импульса свечения во времени для ряда неорганических сцинтилляторов NaI(Tl), BaF2, CsI(Na), CsI(Tl) от вида ионизирующего излучения. Это свойство в сочетании с современными методами обработки сигналов позволяет решить задачу определения типа ядерных частиц с использованием одного сцинтиллятора при одновременном воздействии низкоинтенсивных a-, b-, g-излучений.
    Разные типы ядерных частиц при попадании в сцинтиллятор возбуждают световые вспышки с интенсивностью, пропорциональной энергии, оставляемой ядерной частицей определенного типа в сцинтилляторе. При этом скорость нарастания сигнала определяется скоростью ядерной частицы. Чем выше скорость ядерной частицы, тем меньшее время нарастания сигнала. В таблице представлены результаты измерений характерных временных параметров импульса с выхода сцинциллятора на основе CsI(Tl) при воздействии на него a-частиц с энергией около 5 МэВ и g-квантов с энергией, равной 660 кэВ. Таким образом, из измеренной величины времени нарастания сигнала с выхода детектора, можно сделать за-ключение о типе воздействия.
    Изложенные выше принципы легли в основу устройства для одновременного измерения смешанных a- и g-излучений. Конструктивно прибор состоит из двух функционально законченных модулей — блок детектирования с автономным источником питания и блок обработки информации. Связь между блоками осуществляется гибким многожильным кабелем. Подобная схема позволяет улучшить шумовые и спектрометрические характеристики, а также использовать один блок обработки информации при необходимости замены блока детектирования. Блок детектирования включает в себя непосредственно сам детектор — пластину монокристалла CsI(Tl) площадью 18ґ18 мм2 и толщиной 5 мм, светоприемник — p-i-n диод серии 3204-05 фирмы HAMAMATSU с площадью рабочей поверхности 18ґ18 мм2 и толщиной 500 мкм и малошумящий предусилитель на основе гибридных интегральных микросхем с энергетической чувствительно-стью 94 мВ/МэВ, характеризующийся временем нарастания сигнала на выходе ~15 нс и временем спада ~100 мкс. Сигнальный тракт завершается усилителем-формирователем, который согласует выходной сигнал малошумящего предусилителя с уровнем входного сигнала аналогово-цифрового преобразователя (АЦП) блока обработки информации.

Таблица. Характерные времена сигналов на выходе детектора на основе Cs(TI) при попадании в него ядерной частицы

Параметр y-квант a-частица
Время нарастания 10-50 нс 1-4 мкс
Длительность импульса 2-10 мкс 2-10 мкс

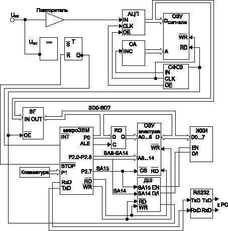
Автономный источник питания обеспечивает работу малошумящего предусилителя, усилителя-формирователя и детектора. В его состав входят аккумулятор и импульсный бестрансформаторный преобразователь напряжения, который вырабатывает необходимое для работы p-i-n диода высокое напряжение (100 В). С целью снижения электромагнитных помех применена схема с накоплением энергии в конденсаторе большой емкости. Импульсный преобразователь включается по команде блока обработки информации непосредственно перед измерением и примерно за 20 с на накопительном конденсаторе достигается напряжение, равное 110 В. После чего импульсный преобразователь выключается, и питание p-i-n диода во время измерения (до 99 мин) осуществляется только от накопительного конденсатора. Падение напряжения на накопительном конденсаторе при предельной загрузке блока детектирования составляет 5 % за максимальное время измерения, что практически не влияет на точность измерения. Управление этим источником осуществляется из блока обработки информации по двум сигнальным линиям — сигнал включения/выключения импульсного преобразователя и сигнал включения/выключения питания малошумящего предусилителя и линейного усилителя. Блок обработки информации состоит из АЦП AD775 фирмы Analog Devices (США), оцифровывающего входной сигнал с частотой преобразования 20 МГц, статиче-ского оперативного запоминающего устройства (ОЗУ) спектров объемом 32 Кбайт, буферного статического ОЗУ для хранения формы сигнала объемом 8 Кбайт, блока управления на основе однокристальной микроЭВМ фирмы Atmel (США) AT89C51 с ЭППЗУ (данная микроЭВМ совместима по командам с микроЭВМ 1830ВЕ51), работающей на частоте 24 МГц, и модуля отображения поступающей информации на двустрочном знаковом жидкокристаллическом индикаторе (ЖКИ) DV216R, выпускаемым фирмой DATAVISION (США) (рисунок). Статическое ОЗУ спектров предназначено для запоминания нескольких независимых измерений.

Рисунок. Структурная схема блока обработки информации

Блок обработки информации работает следующим образом. После регистрации вспышки фоточувствительным быстродействующим детектором производится формирование сигнала для сопряжения его с входным трактом АЦП, в котором производится оцифровка формы импульса с частотой дискретизации, равной 20 МГц. Поскольку постоянная составляющая сигнала на выходе блока детектирования может меняться, необходимо измерять уровень сигнала до фиксации импульса, т. е. необходима предпусковая регистрация. Для регистрации амплитуды и формы импульса устройство должно обеспечивать время регистрации порядка 5ё10 мкс, с глубиной предпусковой регистрации порядка 1ё2 мкс. Эту функцию выполняют компаратор и триггер. Зарегистрированная форма сигнала записывается в буферное ОЗУ.
    Второй этап обработки сигнала включает в себя идентификацию типа ядерной частицы и ее энергии из характеристик сигнала, хранящегося в буферном ОЗУ. По завершению этой процедуры производится инкрементирование содержимого соответствующей ячейки памяти. Адрес ячейки, которая находится в соответствующем банке ОЗУ спектров (тип ядерной частицы и номер измерений), соответствует цифровому коду, который коррелирует с энергией ядерной частицы (с амплитудой зарегистрированного сигнала). Информация, находящаяся в ОЗУ спектров, доступна для передачи ее на ПЭВМ для последующей обработки через последовательный интерфейс RS-232c.
    Анализ реальных ситуаций использования данного устройства показал, что оптимальное число каналов спектрометрического анализатора должно равняться 256 при емкости одного канала — 65535 импульсов.
    При выборе логики управления устройством основной задачей было сделать управление простым и понятным для пользователя. Кроме выключателя питания в устройство введены 4 клавиши: выбор режима работы (“РЕЖИМ”), клавиша запуска и остановки измерения (“СТАРТ-СТОП”) и 2 клавиши для установки времени измерения и номера спектра (“+” и “–”). Логика управления построена следующим образом: клавишей “РЕЖИМ” последовательно в цикле выбираются режимы: “установка номера спектра” — “установка времени измерения” — “обмен с ПЭВМ”; при этом на ЖКИ выводится подсказка, соответствующая выбранному режиму. Из всех режимов, кроме режима обмена с ПЭВМ, путем нажатия клавиши “СТАРТ-СТОП” можно начать измерение. Закончить измерение до истечения времени измерения можно также нажатием клавиши “СТАРТ-СТОП”. Установить время и номер спектра можно клавишами “+” и “–”.
    Основные характеристики разработанного устройства:



Московский государственный
инженерно-физический институт
(технический университет)
Тел. (095) 323-9034
E-mail:aichum@aha.ru